

產品概述/Product overview-------------------------------------------------------◆◆
HENGCLG系列孔板流量計是測量流量的差壓發生裝置,配合各種差壓計或差壓變送器可測量管道中各種流體的流量。孔板流量計節流裝置包括環室孔板,噴嘴等。孔板流量計節流裝置與差壓變送器配套使用,可測量液體、蒸汽、氣體的流量,應用于石油、化工、冶金、電力、輕工等部門。
工作原理/working principle--------------------------------------------------------◆◆
充滿管道的流體流經管道內的節流裝置,在節流件附近造成局部收縮,流速增加,在其上、下游兩側產生靜壓力差(如圖1)。在已知有關參數的條件下,根據流動連續性原理和伯努利方程可以推導出差壓與流量之間的關系(流量愈大,所產生的壓差愈大)而求得流量。
孔板流量計傳感器結構組成
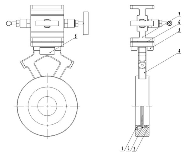
1.夾持式環隙取壓標準孔板(圖2)
圖2 夾持式環隙取壓標準孔板示意圖
1.取壓環1;2.平衡節流件;3.取壓環2;4.高低壓取壓接口; 2.管段式法蘭取壓標準孔板(圖3)
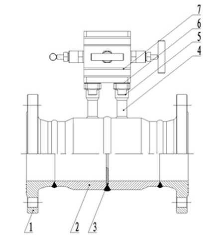
2.管段式法蘭取壓標準孔板(圖3)
圖3 管段式法蘭取壓標準孔板示意圖
1.過程連接法蘭;2.測量導管;3.孔板節流件;4.高低壓取壓接口; 5.M10內六角鎖緊螺絲;6.四氟墊片;7.工字型三閥組。
產品特點/Product features--------------------------------------------------------◆◆
●結構特點
1、管道式集成孔板: 它不論管道直徑大小,其上、下游取壓孔中心均位于距孔板兩側端面各一英寸處,煉油系統普遍采用此種形式。
2、夾持式集成孔板: 它由于實現了環室取壓,提高了測量精度,縮短了安裝時所需最小直線管段長度,被普遍應用。
●性能特點
1.結構易于復制、簡單牢固。
2.性能穩定牢靠,價格低廉,使用期限長。
3.標準型孔板采用國際標準計算與加工,可無須實流標定。
4.單相流(液、氣、蒸汽)皆可測量。
5.采用智能差壓變送器,精度高,量程可自編程。
6.智能一體化孔板流量計可同時顯示累計流量、瞬時流量、壓力、溫度。
7.配有HART通訊接口,穩定性高。
產品參數/Technical parameters---------------------------------------------------◆◆
公稱通徑:DN25~DN1000(mm)
精度:±1.0%FS、±1.5%FS
量程比:標準1∶3;擴展1∶5
工作壓力:≤25MPa
介質溫度:-40℃-450℃
介質粘度:≤30CP(相當于重油)
β值:0.2-0.8
連接方式:法蘭式、夾裝式
取壓方式:環隙取壓、英寸取壓
安裝方式:水平或垂直
供電電源:24V DC(需配差壓變送器)
顯示:8位LCD顯示瞬時流量、累積流量(配流量積算儀)
輸出信號:(1)4-20mA DC流量信號(2)符合HART協議的輸出信號
防爆性能:本安型IbIICT5
防護性能:IP65
產品組成/Product component------------------------------------------------------◆◆
1.壓力變送器
壓力變送器可以將孔板兩端差壓變送輸送成標準信號。
2.流量積算儀
流量積算儀是將差壓變送器輸出的瞬時差壓信號,轉化為瞬時流量信號,并可進行流量累計,也可輸出4-20mA、RS485等通訊信號。
3.冷凝器
可以對高溫測量介質起到很好的降溫作用,例如測量蒸汽。
4.三閥組
三閥組的使用可以使產品在后期得到更好更快捷的維護作用,起到排污,平衡壓力防止單相受壓損害儀表。
選型須知/Selection guidelines------------------------------------------------------◆◆
1.管道直徑、壁厚、材質
2.測量介質
3.介質溫度(℃)
4.介質工作壓力(MPa):最大壓力、正常壓力、最小壓力
5.介質工作流量:最大流量、正常流量、最小流量
6.介質操作粘度(mPa.s)
7.介質密度(kg/m3)
8.允許壓力損失
9.現場管道敷設情況和局部阻力件形式。
安裝要求/Installation requirements------------------------------------------------◆◆
1.孔板安裝前應仔細核對標準孔板的編號、位號、規格是否與管道情況、流量范圍等參數相符。
2.新設管路系統,必須先經沖洗、掃線后再安裝孔板,以防管內雜物堵塞或損傷孔板。
3.孔板的中心應當與管道中心同軸,同軸度誤差不得超過±[0.015*(1/β)-0.015]。并且節流端平面應當與管道的垂直,誤差不得超過±1°。
4. 孔板安裝時,墊片夾緊后不得突入管道內壁。
5. 孔板安裝處必須嚴密,不允許有泄漏現象。安裝后,進行試壓。
6. 孔板流量計前后若需安裝閥門,最好選閘閥且在運行中全開;調節閥則應在下游5DN之后的管路中。
7. 測量液體流量時引壓管水平段應在同一水平面內。若是在垂直管道上安裝節流件,引壓短管之間相距一定的距離(垂線方向),這對差壓變送器的零點有影響,應通過“零點遷移”來校正。
8. 引壓管路內必須始終保持單相流體狀態。被測流體是氣體時,引壓管路(包括差壓計的壓力腔)內全部是氣相;被測流體是液體時,引壓管路內全部是液相,絕對不能有氣泡。
9. 節流裝置上、下游側要保證一定長度的直管段,具體要求見下表:
安裝示意圖
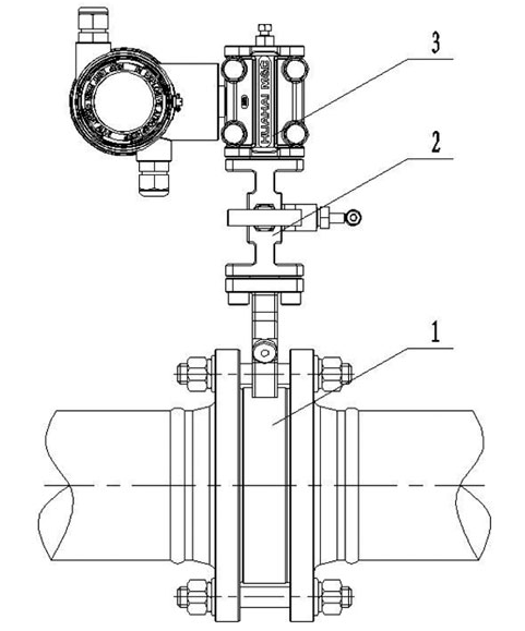
1.夾持式安裝示意圖(圖4)
圖4 夾持式安裝示意圖
1-節流裝置;2-閥門;3-差壓計
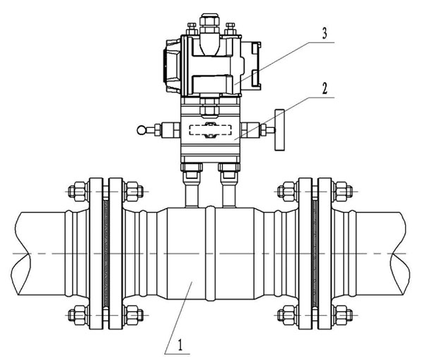
2.管段式安裝示意圖(圖5)
圖5 管段式安裝示意圖
1-節流裝置;2-閥門;3-差壓計
搬運要求
●防止運輸及搬運途中損傷儀表,在現場安裝之前,請保持本產品出場時的包裝狀態。
●安裝時,拒絕穿過孔板節流孔進行吊裝,避免碰傷孔板芯。
●在需要長時間儲存時,請注意一下幾點:
(1)、存放在不受沖擊及震動的地方。
(2)、存放環境最好放在常溫干燥。
(3)、盡量保持在本產品出廠時的包裝狀態下進行存放。
常見故障及解決辦法/Common failures and solutions-------------------------------◆◆
附件/attachment------------------------------------------------------------------◆◆
自帶附件
工字型三閥組
可選附件
配對法蘭及螺栓墊片、隔離器。
可選相關商品
壓力變送器、溫度變送器、流量計積算儀、智能差壓變送器、多參量差壓變送器。